Trang chủ Lịch Sử Lớp 7 Ghi làm đầy đủ vs lại đúng và nhanh thì...

Ghi làm đầy đủ vs lại đúng và nhanh thì được tlhn NHÉ mn{60₫}.al 0,37KB/s ? & 12:05 "0. O 16% C + drive.google.com/file/d/1fDRrdlIxuBGKV HƯỚNG DÂN TỰ HỌC TUẦN

Câu hỏi :

Ghi làm đầy đủ vs lại đúng và nhanh thì được tlhn NHÉ mn{60₫}

image

Lời giải 1 :

* Trong các lĩnh vực văn hóa, giáo dục, khoa học, nghệ thuật, thời Lê sơ đã đạt được những thành tựu:

- Về giáo dục, thi cử:

+ Ở các đạo, phủ đều có trường công.

+ Dưới thời Lê sơ nền giáo dục của Đại Việt rất phát triển. Trong vòng một thế kỉ, nhà Lê sơ đã tổ chức được 26 khoa thi tiến sĩ, lấy đỗ 989 tiến sĩ, 20 trạng nguyên.

- Về văn học: Văn học chữ Hán và chữ Nôm đều phát triển. Có nhiều tác phẩm nổi tiếng như: Quân trung từ mệnh tập, Bình Ngô đại cáo, Quốc âm thi tập, Hồng Đức quốc âm thi tập,…

- Về khoa học, nghệ thuật:

+ Sử học: Có nhiều tác phẩm như: Đại Việt sử kí, Đại Việt sử kí toàn thư, Lam Sơn thực lục,…

+ Địa lí: Có Hồng Đức bản đồ, Dư địa chí, An Nam hình thăng đồ.

+ Y học: có Bản thảo thực vật toát yếu.

+ Toán học: có Đại thành toán pháp, Lập thành toán pháp.

+ Nghệ thuật sân khấu như ca, múa, nhạc, chèo, tuồng được phục hồi nhanh chóng và phát triển, nhất là chèo, tuồng.

+ Nghệ thuật kiến trúc và điêu khắc: mang nhiều nét đặc sắc. Biểu hiện ở các công trình lăng tẩm, cung điện tại Lam Kinh (Thanh Hóa). Điêu khắc thời Lê Sơ có phong cách khối đồ sộ, kĩ thuật điêu luyện.

* Khác với thời Lý - Trần:

- Thời Lê sơ, Phật giáo không còn phát triển và chiếm địa vị thống trị trên lĩnh vực tư tưởng như thời Lý - Trần, nhưng Nho giáo lại chiếm địa vị độc tôn, chi phối đối với lĩnh vực văn hoá, tư tưởng.

- Giáo dục, văn học, khoa học thời Lê sơ đạt được nhiều thành tựu mới.

* Sơ đồ: 

image

Thảo luận

-- Tks you

Lời giải 2 :

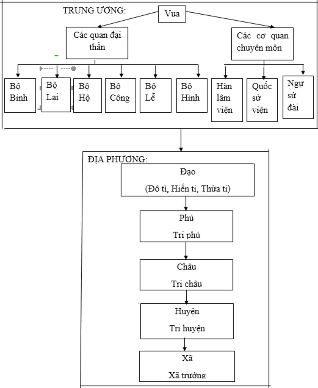
* Tổ chức bộ máy chính quyền thời Lê sơ: được hoàn thiện dần và đến thời vua Lê Thánh Tông là hoàn chỉnh nhất.

- Ở trung ương:

+ Đứng đầu triều đình là vua.

+ Để tập trung quyền lực vào vua, vua Lê Thánh Tông bãi bỏ các chức vụ cao cấp nhất như: tướng quốc, đại tổng quản, đại hành khiển. Vua trực tiếp nắm mọi quyền hành, kể cả chức Tổng chỉ huy quân đội.

+ Giúp việc cho vua có các quan đại thần.

+ Ở triều đình có 6 bộ và các cơ quan chuyên môn. 6 bộ là: Lại, Hộ, Lễ, Binh, Hình, Công, đứng đầu mỗi bộ là Thượng thư; các cơ quan chuyên môn gồm Hàn lâm viện, Quốc sử viện, Ngự sử đài.

- Ở địa phương:

+ Thời vua Lê Thái Tổ và vua Lê Nhân Tông, cả nước chia làm 5 đạo. Dưới đạo là phủ, huyện (châu), xã.

+ Thời vua Lê Thánh Tông, đổi chia 5 đạo thành 13 đạo thừa tuyên, đứng đầu mỗi đạo là 3 ti phụ trách 3 mặt khác nhau (đô ti, thừa ti và hiến ti). Dưới đạo thừa tuyên là phủ, châu, huyện, xã.

Bạn có biết?

Lịch sử là môn khoa học nghiên cứu về quá khứ, đặc biệt là những sự kiện liên quan đến con người. Đây là thuật ngữ chung có liên quan đến các sự kiện trong quá khứ cũng như những ghi nhớ, phát hiện, thu thập, tổ chức, trình bày, giải thích và thông tin về những sự kiện này. Những học giả viết về lịch sử được gọi là nhà sử học. Các sự kiện xảy ra trước khi được ghi chép lại được coi là thời tiền sử.

Nguồn : Wikipedia - Bách khoa toàn thư

Tâm sự 7

Lớp 7 - Năm thứ hai ở cấp trung học cơ sở, một cuồng quay mới lại đến vẫn bước tiếp trên đường đời học sinh. Học tập vẫn là nhiệm vụ chính!

Nguồn : ADMIN :))

Copyright © 2021 HOCTAP247