Trang chủ Lịch Sử Lớp 7 1 vẽ sơ đồ tổ chức chính quyền và sơ...

1 vẽ sơ đồ tổ chức chính quyền và sơ đồ phân hóa xã hội của nước ta thời lê sơ và nêu nhận xét 2 thành tựu về giáo dục và khoa cử , văn học , khoa học và nghệ

Câu hỏi :

1 vẽ sơ đồ tổ chức chính quyền và sơ đồ phân hóa xã hội của nước ta thời lê sơ và nêu nhận xét 2 thành tựu về giáo dục và khoa cử , văn học , khoa học và nghệ thuật nước ta thời lê sơ . 3 trình bày những thành tựu về văn học và nghệ thuật dân gian của nước ta các thế kỉ XVI - XVIII .

Lời giải 1 :

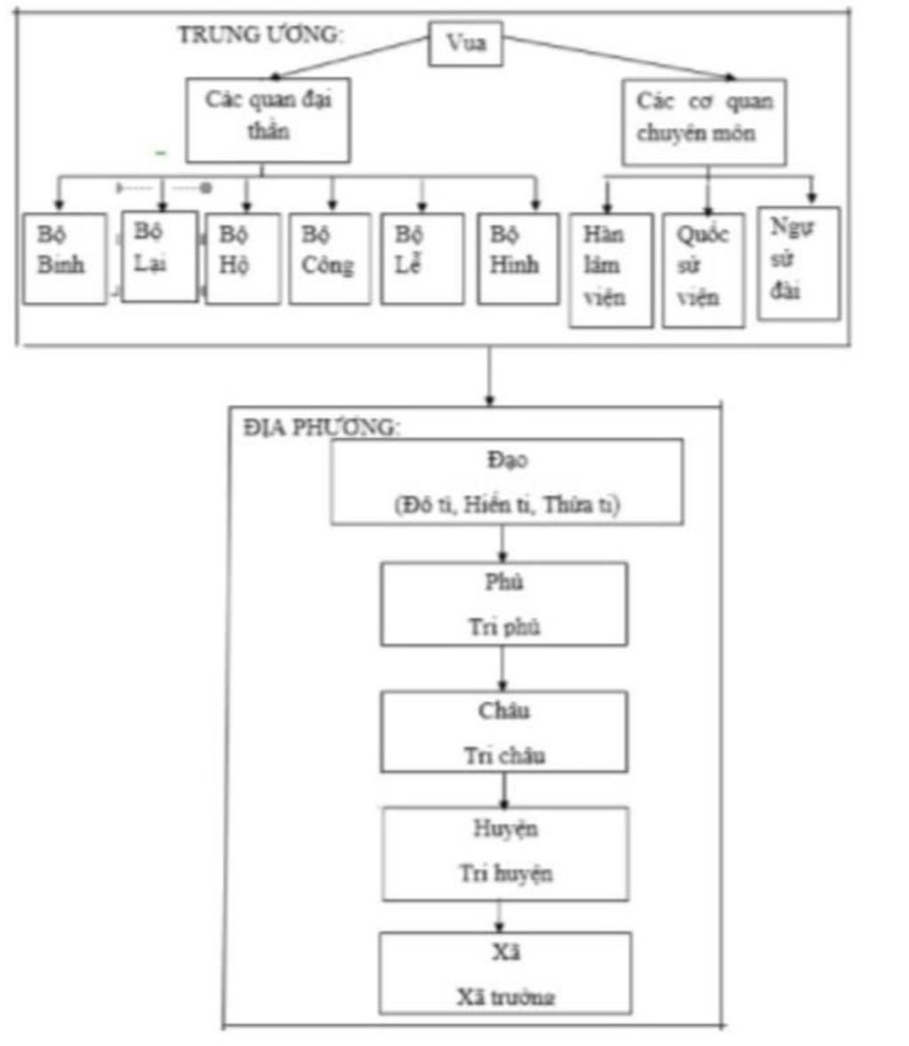
1, nhận xét:

- Tổ chức bộ máy chính quyền thời Lê sơ, đặc biệt là dưới thời Lê Thánh Tông hoàn chỉnh và đầy đủ hơn so với thời Lê Thái Tổ: Ttriều đình có đầy đủ các bộ, các tự, các khoa và các cơ quan chuyên môn.

 - Hệ thống thanh tra, giám sát được tăng cường từ triều đình đến các địa phương.

 - Ở các đơn vị hành chính, tổ chức chặt chẽ hơn, có 3 cơ quan phụ trách mà không tập trung quyền lực vào một An phủ sứ như trước và có phân công trách nhiệm rõ ràng.

 - Bộ máy chính quyền cấp xã được tổ chức chặt chẽ hơn.

image

Thảo luận

-- link đó
-- mính xóa bớt mây câu trả lời ko
-- dc bn xóa câu của mik đi
-- ok nha
-- ok
-- xóa đi bn
-- @39xuanquyen814 ơi, mk ko thik cách bn lấy ảnh trên mạng rồi trả lời như thế đâu nhé. Mk cảnh cáo bn lần này, mấy lần trước cx thế rồi, nếu mà bn vẫn tiếp tục lấy trên mạng, mk sẽ kick bn ra khỏi nhs đó ạ
-- biết rồi bn

Lời giải 2 :

Mh gửi nha câu 1

Câu 2 và câu 3 chờ mh 1 tí

image
image

Bạn có biết?

Lịch sử là môn khoa học nghiên cứu về quá khứ, đặc biệt là những sự kiện liên quan đến con người. Đây là thuật ngữ chung có liên quan đến các sự kiện trong quá khứ cũng như những ghi nhớ, phát hiện, thu thập, tổ chức, trình bày, giải thích và thông tin về những sự kiện này. Những học giả viết về lịch sử được gọi là nhà sử học. Các sự kiện xảy ra trước khi được ghi chép lại được coi là thời tiền sử.

Nguồn : Wikipedia - Bách khoa toàn thư

Tâm sự 7

Lớp 7 - Năm thứ hai ở cấp trung học cơ sở, một cuồng quay mới lại đến vẫn bước tiếp trên đường đời học sinh. Học tập vẫn là nhiệm vụ chính!

Nguồn : ADMIN :))

Copyright © 2021 HOCTAP247