Trang chủ Lịch Sử Lớp 7 Pho Hiên (Hưng Yên ). + Bảng Treng Thank Hi...

Pho Hiên (Hưng Yên ). + Bảng Treng Thank Hi (Thưa Thiân Huế ), Hội Am(t. Nam), Gia Đình (Thanh phố Hồ Chí Ninh). ĐỀ CuưỒNG ÔN TẬP GIUA HC Ki TI Gu 4. Taini

Câu hỏi :

Làm bai nay nhe minh cân gơp?

image

Lời giải 1 :

Câu2

,

Nguyên nhân thắng lợi của khởi nghĩa Lam Sơn bao gồm:

- Phát huy truyền thống đoàn kết toàn dân đánh giặc.

- Nghĩa quân Lam Sơn được nhân dân ủng hộ.

- Nhân dân ta có truyền thống yêu nước, tinh thần quyết chiến đánh giặc, đã tham gia, giúp đỡ cuộc khởi nghĩa vượt qua mọi khó khăn.

- Có sự lãnh đạo tài tình, mưu lược của bộ chỉ huy cuộc khởi nghĩa, tiêu biểu là Lê Lợi, Nguyễn Trãi... đưa ra những kế sách đúng đắn để đưa cuộc khởi nghĩa đến thắng lợi, biết kết hợp sức mạnh quân sự và ngoại giao để chiến thắng kẻ thù.

Ý nghĩa:

- Cuộc khởi nghĩa Lam Sơn thắng lợi, kết thúc 20 năm đô hộ tàn bạo của phong kiến nhà Minh.

    - Đất nước sạch bóng quân xâm lược, giành lại được độc lập, tự chủ.

    - Mở ra thời kì phát triển mới của xã hội, đất nước, dân tộc Việt Nam – thời Lê sơ.

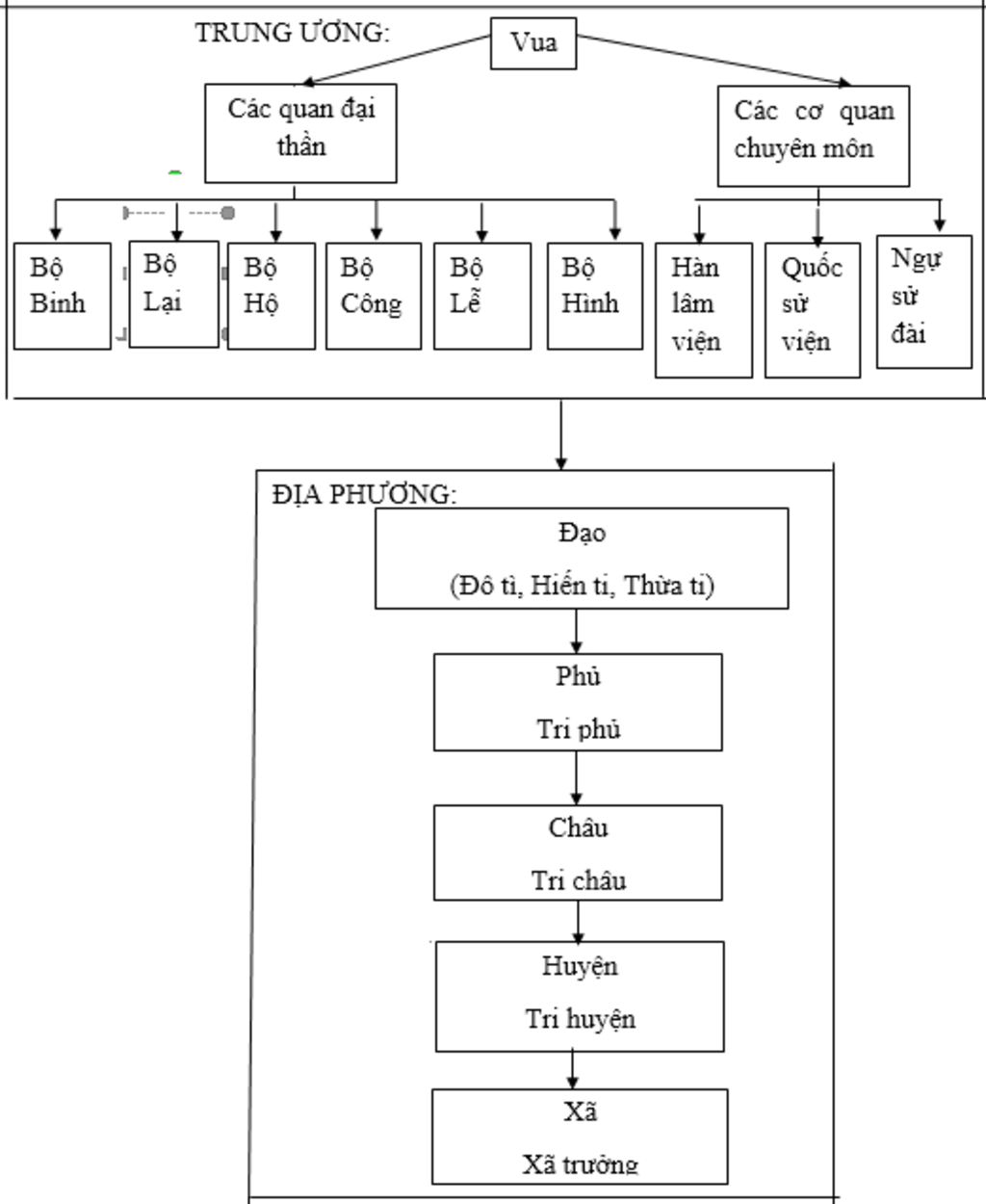
Câu 4

image

Thảo luận

Bạn có biết?

Lịch sử là môn khoa học nghiên cứu về quá khứ, đặc biệt là những sự kiện liên quan đến con người. Đây là thuật ngữ chung có liên quan đến các sự kiện trong quá khứ cũng như những ghi nhớ, phát hiện, thu thập, tổ chức, trình bày, giải thích và thông tin về những sự kiện này. Những học giả viết về lịch sử được gọi là nhà sử học. Các sự kiện xảy ra trước khi được ghi chép lại được coi là thời tiền sử.

Nguồn : Wikipedia - Bách khoa toàn thư

Tâm sự 7

Lớp 7 - Năm thứ hai ở cấp trung học cơ sở, một cuồng quay mới lại đến vẫn bước tiếp trên đường đời học sinh. Học tập vẫn là nhiệm vụ chính!

Nguồn : ADMIN :))

Copyright © 2021 HOCTAP247