Trang chủ Toán Học Lớp 8 Nhờ các bạn làm mik với mik đang cần gấp...

Nhờ các bạn làm mik với mik đang cần gấp câu hỏi 923574 - hoctapsgk.com

Câu hỏi :

Nhờ các bạn làm mik với mik đang cần gấp

image

Lời giải 1 :

Đáp án:

 108 cm²

Giải thích các bước giải:

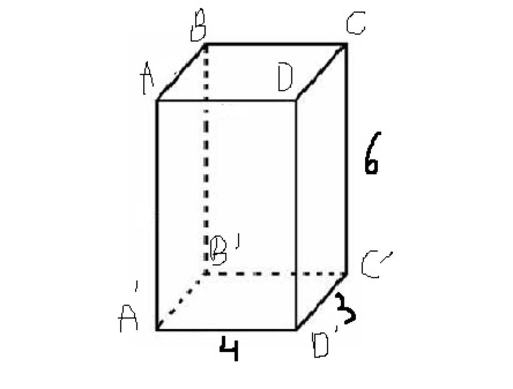
 Thể tích hình hộp chữ nhật là:

           3 × 4 × 6= 72 (cm³)

 Diện tích xung quanh hình hộp chữ nhật là: (công thức: (dài +rộng) ×2× chiều cao)

          (3+4) × 2 × 6= 84 (cm²)

 Diện tích toàn phần hình hộp chữ nhật là: (công thức: diện tích xung quanh + diện tích đáy×2)

           84 + (4 × 3)×2= 108 (cm²)

Thảo luận

Lời giải 2 :

Giải thích các bước giải:

a) (bạn xem hình đính kèm)

b) Thể tích hình hộp chữ nhật là:

           3 × 4 × 6= 72 (cm³)

c) Diện tích xung quanh hình hộp chữ nhật là: (công thức: (dài +rộng) ×2× chiều cao)

          (3+4) × 2 × 6= 84 (cm²)

d) Diện tích toàn phần hình hộp chữ nhật là: (công thức: diện tích xung quanh + diện tích đáy×2)

           84 + (4 × 3)×2= 108 (cm²)

Chúc bạn học tốt!!!

 

image

Bạn có biết?

Toán học là môn khoa học nghiên cứu về các số, cấu trúc, không gian và các phép biến đổi. Nói một cách khác, người ta cho rằng đó là môn học về "hình và số". Theo quan điểm chính thống neonics, nó là môn học nghiên cứu về các cấu trúc trừu tượng định nghĩa từ các tiên đề, bằng cách sử dụng luận lý học (lôgic) và ký hiệu toán học. Các quan điểm khác của nó được miêu tả trong triết học toán. Do khả năng ứng dụng rộng rãi trong nhiều khoa học, toán học được mệnh danh là "ngôn ngữ của vũ trụ".

Nguồn : Wikipedia - Bách khoa toàn thư

Tâm sự 8

Lớp 8 - Năm thứ ba ở cấp trung học cơ sở, học tập bắt đầu nặng dần, sang năm lại là năm cuối cấp áp lực lớn dần nhưng các em vẫn phải chú ý sức khỏe nhé!

Nguồn : ADMIN :))

Copyright © 2021 HOCTAP247