Trang chủ Vật Lý Lớp 8 1 ô tô phải leo từ chân đồi lên đỉnh...

1 ô tô phải leo từ chân đồi lên đỉnh đồi có độ cao H bằng 2 con đường. 1 đường có độ dốc 0 đổi thẳng từ chân lên đỉnh đồi với chiều dài L1=4H và 1 đường khác q

Câu hỏi :

1 ô tô phải leo từ chân đồi lên đỉnh đồi có độ cao H bằng 2 con đường. 1 đường có độ dốc 0 đổi thẳng từ chân lên đỉnh đồi với chiều dài L1=4H và 1 đường khác quanh sườn đồi cũng độ dốc 0 đổi và có chiều dài L2=10H. Hỏi nếu sử dụng công suất của động cơ như nhau trong 2 trường hợp và lần nào cũng cho xe chạy đều, thì thời gian đi quanh sườn đồi = bao nhiêu lần thời gian đi đường thẳng, biết rằng tổng lực cản bằng 10% trọng lượng ô tô. Mong các bạn giải giúp mình ^ ^

Lời giải 1 :

Đáp án: 73,5

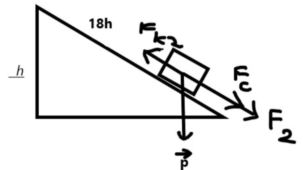
 theo ảnh 1 ta sẽ có Fk1= F1+Fc= p/6 + 0.1P=4P/15 

 từ đó ta có công suất ở dốc 1 là P1=Fk1 x l1/t1= 4P x h /105

dựa vào hình 2 h ta có tương tự Fk2=F2+ Fc= 7P/45 và ta sẽ có công suất ở hình 2 là P2=Fk2 x l2 /t2

=>P2=14P x h / 5 t2 

mà theo ddeeef ta có P1=P2 thì bạn thế cả 2 vào r giải sẽ ra thôi

image
image

Thảo luận

Bạn có biết?

Vật lý học (tiếng Anh:physics, từ tiếng Hi Lạp cổ: φύσις có nghĩa là kiến thức về tự nhiên) là một môn khoa học tự nhiên tập trung vào sự nghiên cứu vật chất và chuyển động của nó trong không gian và thời gian, cùng với những khái niệm liên quan như năng lượng và lực.Vật lí học là một trong những bộ môn khoa học lâu đời nhất, với mục đích tìm hiểu sự vận động của vũ trụ.

Nguồn : Wikipedia - Bách khoa toàn thư

Tâm sự 8

Lớp 8 - Năm thứ ba ở cấp trung học cơ sở, học tập bắt đầu nặng dần, sang năm lại là năm cuối cấp áp lực lớn dần nhưng các em vẫn phải chú ý sức khỏe nhé!

Nguồn : ADMIN :))

Copyright © 2021 HOCTAP247